37岁男演员于朦胧被传坠楼,7月刚注销工作室,警方回应

Connor OKEX数字平台 2025-09-11 36 0

据中国蓝新闻,9月11日,演员于朦胧冲上热搜,有网友称于朦胧今日在北京坠楼,目前于朦胧方无回应比特币最初价格

37岁男演员于朦胧被传坠楼<strong></p>
<p>比特币最初价格</strong>,7月刚注销工作室,警方回应

于朦胧主页显示,其上次更新动态是8日前,昨天21:31还上线了微博比特币最初价格。目前,于朦胧方暂无回应。

37岁男演员于朦胧被传坠楼<strong></p>
<p>比特币最初价格</strong>,7月刚注销工作室,警方回应

据三湘都市报,记者联系了北京市朝阳区常营派出所,派出所民警称没有收到相关消息比特币最初价格

37岁男演员于朦胧被传坠楼<strong></p>
<p>比特币最初价格</strong>,7月刚注销工作室,警方回应

展开全文

于朦胧,1988年6月15日出生于新疆维吾尔自治区乌鲁木齐市,毕业于北京演艺专修学院,中国内地男演员、歌手、MV导演比特币最初价格

37岁男演员于朦胧被传坠楼<strong></p>
<p>比特币最初价格</strong>,7月刚注销工作室,警方回应

2007年,参加东方卫视选秀娱乐节目《我型我秀》,获得西安站16强比特币最初价格。2010年,参加选秀节目《快乐男声》被选入“快乐天团”候选人;同年,担任丁爽歌曲《61秒》的MV导演。2013年,参加湖南卫视选秀娱乐节目《快乐男声》,获得全国总决赛第十名。2015年,主演的古装穿越剧《太子妃升职记》播出,获得大量关注。代表作品有《三生三世十里桃花》《太子妃升职记》《永夜星河》《一伞烟雨》等。

37岁男演员于朦胧被传坠楼<strong></p>
<p>比特币最初价格</strong>,7月刚注销工作室,警方回应

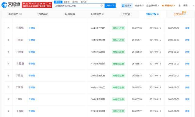
天眼查任职信息显示,于朦胧名下关联2家工作室,分别为上海起萌影视文化工作室、东阳鲜萌影视文化工作室,均为注销状态比特币最初价格。其中,上海起萌影视文化工作室成立于2017年8月,于2024年11月注销,出资额500万人民币,为于朦胧个人独资企业。知识产权信息显示,该工作室已成功注册多枚“于朦胧”商标。此外,东阳鲜萌影视文化工作室成立于2016年9月,于2025年7月注销,出资额0.05万人民币,为于朦胧个人独资企业。

37岁男演员于朦胧被传坠楼<strong></p>
<p>比特币最初价格</strong>,7月刚注销工作室,警方回应

37岁男演员于朦胧被传坠楼<strong></p>
<p>比特币最初价格</strong>,7月刚注销工作室,警方回应

37岁男演员于朦胧被传坠楼<strong></p>
<p>比特币最初价格</strong>,7月刚注销工作室,警方回应

37岁男演员于朦胧被传坠楼<strong></p>
<p>比特币最初价格</strong>,7月刚注销工作室,警方回应

评论